口腔CBCT3D模體YY/T 0795—2022
口腔CBCT3D模體YY/T 0795—2022
實體廠家,非標訂制,一件起訂,134-7367-2973 微信同號
以下參數,僅供參考!!!更多詳情,請咨詢:134-7367-2973 微信同號
參考標準:YY/T0795-2022
1.產品介紹與結構A. 1. 口腔CBCT 3D模體 A. 1. 1 模體結構 模體軸向和矢狀截面的結構如圖 A. 1所示。 單位為毫米

圖A. 1 體模軸向和矢狀截面的結構示意圖
標引序號說明: ①測試模塊; ②PMMA 主體; ③長度和角度測量單元。
A. 1.2. 測試模塊測試模塊包括:空模塊、空間分辨率模塊(XY) 、空間分辨率模塊(Z) 、低對比度模塊 (鋁)(XY) 、低對比度模塊(PTFE)(XY) 、低對比度模塊(DELRIN)(XY) 、低對比度模塊( LDPE)(XY) 、低對比度模塊(空氣)(XY)。 a) 空模塊: PMMA 材質。 b) 空間分辨率模塊(XY) :XY 方向測試模塊 ,空間分辨率為: 1.0 LP/ mm 、 1.3 LP/ mm 、 1. 55 LP/ mm 、 1.7 LP/ mm 、 2.0 LP/ mm 、 2. 5 LP/ mm 、 2.8 LP/ mm 、 3. 5 LP/ mm 、4.0 LP/ mm。 c) 空間分辨率模塊(Z) :Z 方向測試模塊,空間分辨率為: 1.0 LP/ mm、 1.3 LP/ mm、 1. 55 LP/ mm 、 1.7 LP/ mm 、 2.0 LP/ mm 、 2. 5 LP/ mm 、 2.8 LP/ mm, 3. 5 LP/ mm、 4.0 LP/ mm。 d) 低對比度模塊(鋁)(XY) :XY 方向測試模塊,直徑為: 1.0 mm、 2.0 mm、 3.0 mm、 4.0 mm 、 5.0 mm。 e) 低對比度模塊(PTFE)(XY) :XY 方向測試模塊 ,直徑為: 1.0 mm、 2.0 mm、 3.0 mm 、4.0 mm 、 5.0 mm。 f) 低對比度模塊(DELRIN)(XY): XY 方向測試模塊 ,直徑為: 1.0 mm 、 2.0 mm、 3.0 mm 、4.0 mm 、 5.0 mm。 g) 低對比度模塊(LDPE)(XY) :XY 方向測試模塊 ,直徑為: 1.0 mm、 2.0 mm、 3.0 mm 、4.0 mm 、 5.0 mm。 h) 低對比度模塊(空氣)(XY): XY方向測試模塊 ,直徑為: 1.0 mm 、 2.0 mm 、 3.0 mm 、4.0 mm 、 5.0 mm。 注:本文件中 ,聚四氣乙烯簡稱 PTFE ,聚甲醛樹脂簡稱 DELRIN ,低密度聚乙烯簡 稱 LDPE ,聚甲基丙烯酸甲酯簡稱 PMMA。

圖A.2 測試模塊示意圖
A. 1. 3. 使用方法 根據所測試的項目 ,分別放置相應的測試模塊到口腔 CBCT 3D模體(見圖 A. 1)中 PMMA 主體的模塊孔中。 測試模塊可根據實際需求調整位置 ,其他未用的區(qū)域需用空模塊填滿。 A. 1.4. 長度和角度測量單元 長度和角度測量單元如圖 A.3 所示。

圖A.3. 長度和角度測量單元
表 A. 1 模體參數

A.2. 模擬兒童模體 A.2. 1 模體結構 模擬兒童模體分為內套和主體兩部分,如圖 A.4 和圖 A.5所示,模體材料采用 PMMA。 單位為毫米

圖A.4 模擬兒童模體內套

圖A. 5 模擬兒童模體主體
A.2.2 使用方法
根據所測試的項目 ,放置相應的測試模塊到模擬兒童模體內套中 ,再一并置人模擬 兒童模體主體的中心孔中進行測試。
表 A. 2 模體參數

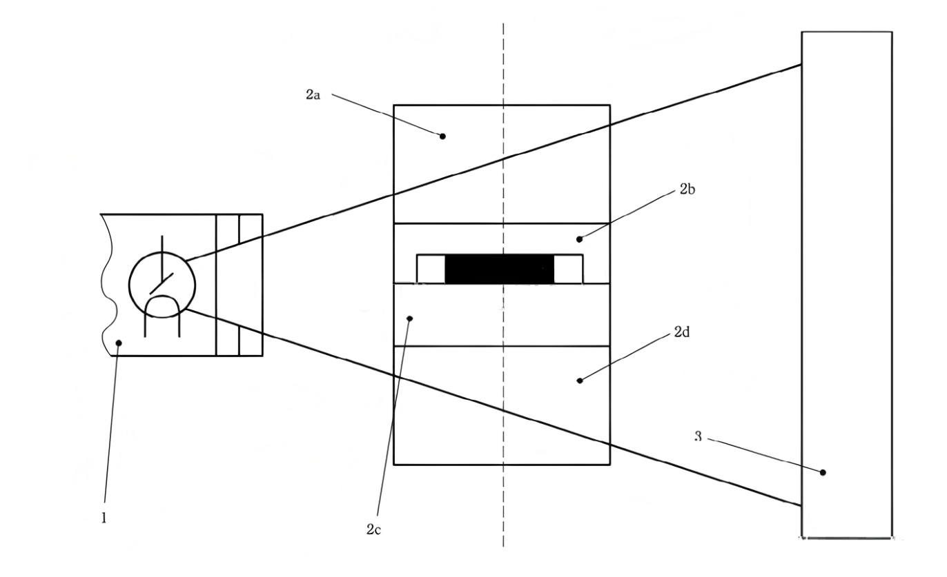
A. 3. 圖像質量量化評估模體 A. 3. 1 模體結構 模體由 PMMA 、定位輔助裝置、銑槽和附加結構組成。模體采用圓柱形零件 ,它們 層層復合后放人輻射光束路徑中使相關結構成像(參見圖A.6)。

圖A.6 輻射束路徑中的體模構成與順序
標引序號說明:
1—— X射線源;
2a-2d—— 模體區(qū)域;
3—— 圖像接收器/探測器。
A. 3.2 均勻性測試結構
圖A.6所示三個模體區(qū)域為圓柱形零件 ,厚度分別是60mm(2a區(qū))、20mm(2c區(qū))和50 mm(2d區(qū)),其全部采用 PMMA 材質 ,可選配用于定位的銑槽(參見圖 A.7)。
單位為毫米

圖A.7 模體均勻部分
標引序號說明:
1——PMMA主體;
2——用于定位的銑槽。
A. 3. 3 MTF測試結構
模體其中一個圓柱形零件(圖 A.6 中的 2 b區(qū))配備附加結構 ,即一個低塑性聚氯乙烯 ( PVC)(1.4 g/cm°)環(huán)帶和一個充滿空氣的銑槽 。模體結構元件如圖 A.8所示。
單位為毫米

圖 A.8 模體結構元件 、軸向和矢狀截面
標引序號說明:
1—— 定位輔助(選配); 2—— 定位輔助(選配);
3—— PMMA 主體; 4—— PVC 環(huán)帶;
5—— 空氣。





